How to Properly Connect and Mount Signal Booster Antennas
Proper antenna connection is crucial for the optimal performance of your signal booster. Incorrect installation can lead to poor signal reception, auto-oscillation, or reduced coverage. Follow this guide to correctly connect and mount the external and internal antennas in your system.
What’s Included in a Standard Kit?
A typical signal booster kit consists of the following components:
External Antenna – can be:
- Log-Periodic directional antenna (LPDA) or Panel Antenna for home boosters.
- Magnetic Omni-directional Antenna for vehicle boosters and
- Omni-directional Boat Antenna for marine boosters.
External Cable – connects the external antenna to the booster.
Standard lengths range from 10 to 20 meters, but can be adjusted as needed.
Signal Booster Unit – The core device that amplifies the signal.
Internal Cable – Connects the internal antenna to the booster. Standard length is 5 meters, but can be shortened or extended if needed. Some basic models for small coverage may not require an internal cable.
Internal Antenna – can be:
- Ceiling or Panel Antenna (connected via cable).
- Whip Antenna (screwed directly into the booster without cable).
Understanding Booster’s Antenna Ports
Different booster models have different port labels. Here’s what they mean:
- BS or Outdoor – Connects to the external antenna.
- MS / Indoor – Connects to the internal antenna(s).
- DC – For power supply connection.
Some models have two indoor ports, allowing use of 2 indoor antennas simultaneously. In this case:
- MS1 (stronger port) – Best for ceiling and panel antennas with longer cables.
- MS2 – Suitable for a whip antenna or a second panel/ceiling antenna with a shorter cable.
*Note: If your coverage area is small and the distance between 2 indoor antennas is less than 5 meters, use only one indoor antenna to avoid signal interference.
Installation Diagrams:
Booster kit with one indoor antenna:
Booster kit with two indoor antennas:
Installation in a van or car
* These diagrams show a possible setup in a van or car. The placement of the external and internal antennas may vary based on your needs and your vehicle’s features. To prevent signal oscillation, ensure that the two antennas are at least 3 meters apart.
Installation on a ship/boat
*The external and internal antennas could be installed in various locations, depending on your needs and your boat’s features.
Attention! To prevent signal oscillation, it is important that the two antennas have at least 8 meters of separation.
Ensuring Proper Antenna Isolation Before Turning On
Before turning on the booster, check for proper antenna placement to prevent auto-oscillation issue (feedback loops) and interference:
Maintain a minimum distance between antennas:
- Outdoor to Indoor Antenna: At least 8 meters horizontally and 1.5 meters vertically. If the outdoor signal is strong, it's recommended to increase this distance. A stronger input signal requires a greater separation for optimal performance.
- Indoor to Indoor Antenna: At least 3-5 meters apart to avoid signal interference. If your coverage area is small and the distance between 2 indoor antennas is less than 5 meters, use only one indoor antenna to avoid signal interference.
Position antennas correctly:
- Best placed on the roof with a clear line of sight to the nearest cell tower.
- Never place the outdoor and indoor antennas facing each other.
- Use obstacles like walls, ceilings, or metal barriers to block direct signal paths.
- Aim antennas in opposite or distinctly different directions.
* For detailed instructions on how to aim and position the external antenna properly, refer to our Antenna Positioning Guide.
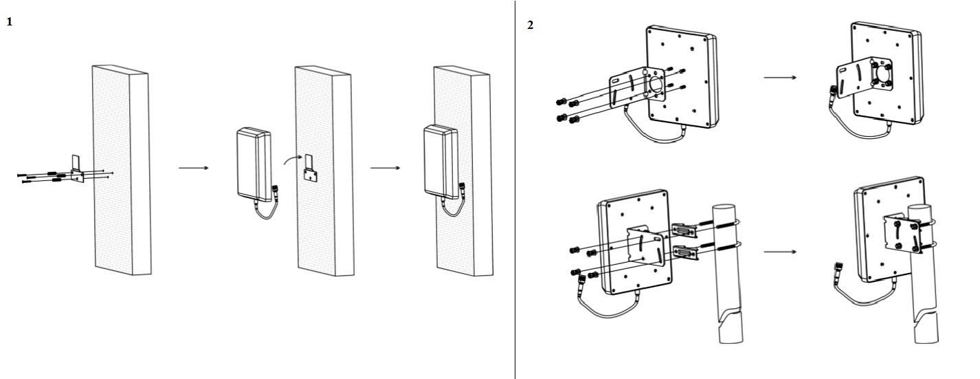
How to Mount the Antennas
Mounting the external antenna
LPDA Antenna:
Should be installed on a pole.
Make sure the antenna is mounted vertically and the red arrow on the antenna case points upward.
Panel Antenna:
- Can be wall-mounted or pole-mounted.
- Position it as high as possible for the best signal reception.
Pay attention to the vertical position of the panel antenna. The cable should go down.
Mounting the Internal Antenna
Ceiling Antenna:
- Best for large open spaces, homes, or offices.
- Place it in the center of the area for even signal distribution.
Panel Antenna:
- Ideal for long, narrow spaces (corridors, hallways, etc.).
- Mount on a wall, just like an external panel antenna.
- Aim it toward the area where signal improvement is needed.

Tips for Best Performance
- Avoid excessive bending or pinching of the cables. to ensure optimal signal transmission.

- If excess cable remains, carefully roll it or shorten the cable.
- Insulate external connectors from moisture using standard electrical tape for better protection.

- Check connectors for integrity during system assembly to prevent connection issues.
- If experiencing interference, adjust the antenna positions slightly to find the best configuration.














